Tuburi pentru podeț Nearmate

Tuburile din beton nearmate pentru podețe sunt potrivite pentru proiectele de infrastructură care necesită o soluție simplă, eficientă și care să presupună costuri reduse.

Acestea sunt fabricate din beton de înaltă calitate și sunt utilizate în special în lucrările de drenaj, canalizare și construcția de podețe de dimensiuni mai mici.
Tuburile din beton nearmate oferă o stabilitate bună și rezistență suficientă pentru a face față sarcinilor moderate și condițiilor de trafic ușor până la mediu.

Funcționează pentru proiectele care nu presupun expunerea la încărcături extreme, dar unde se dorește o soluție pentru direcționarea apei sau realizarea de pasaje pentru drumuri secundare, terenuri agricole sau drumuri cu circulație redusă.

Unul dintre principalele avantaje ale tuburilor din beton nearmate este costul redus la achiziționare, instalare și întreținere. Datorită structurii lor simple, montajul acestor tuburi este rapid și nu necesită echipamente sofisticate.

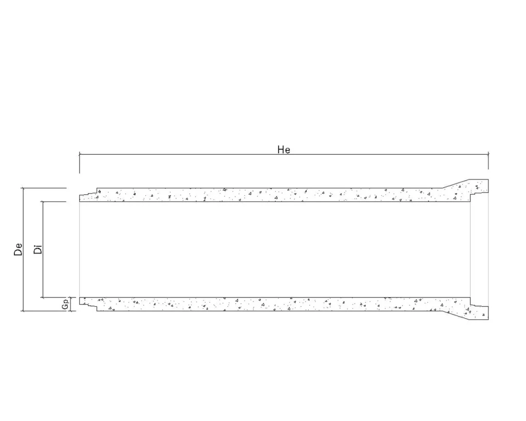
Cod Produs Denumire Produs Dimensiuni (mm) Greutate ( kg ) Pret PDF PDF
D ext d int g L ext Decalaratie Fisa Tehnica
TBN3002000 TUB BETON NEARMAT D300/L2000 420 300 60 2000 380 268 1916.pdf TBN3002000.pdf
TBN4002000 TUB BETON NEARMAT D400/L2000 530 400 65 2000 540 371 1916.pdf TBN4002000.pdf
TBN5002000 TUB BETON NEARMAT D500/L2000 640 500 70 2000 940 487 1916.pdf TBN5002000.pdf
Dumar Construct este o companie românească înființată în 1994 care produce prefabricate din beton customizabile conform celor mai înalte standarde de calitate, menite să răspundă tuturor cerințelor constructorilor din șantierele în continuă evoluție.