Tuburi pentru podeț Armate

Tuburile din beton armat pentru podețe reprezintă o soluție modernă, sigură și eficientă pentru lucrările de infrastructură rutieră și hidrotehnică.
Datorită materialelor de înaltă calitate și tehnologiilor avansate de producție, aceste tuburi asigură rezistență, o durată de viață extinsă și o stabilitate în multiple condiții de exploatare.

Comparativ cu alte materiale, tuburile din beton armat se diferențiază prin durabilitate. Ele sunt proiectate să reziste fără probleme la sarcini mari și la condiții de trafic intens, fără a necesita lucrări suplimentare de protecție. Rigiditatea si masa betonului permit plasarea ușoară și sigură în șanț, fără a perturba solul.

În plus, îmbinările țevii prefabricate din beton sunt asamblate cu ușurință, ceea ce contribuie la minimizarea timpului pentru instalare. Când acest timp contează sau când solul prezintă provocari pentru instalare, conducta prefabricată de beton este o opțiune responsabilă.

Procesul de instalare este simplificat datorită caracteristicilor structurale ale tuburilor. Fiind un sistem rigid, acestea nu necesită compactarea excesivă a solului, iar îmbinările precise permit o montare rapidă și eficientă. Pe termen lung, costurile de întreținere sunt minime, ceea ce face din tuburile din beton armat o soluție economică.

Utilizate în construcția podețelor, drenajelor, sistemelor de canalizare sau lucrărilor de regularizare a cursurilor de apă, aceste tuburi contribuie dezvoltarea unei infrastructuri solide și de încredere. Fiind fabricate din materiale naturale, ele reprezintă și o soluție ecologică, contribuind la protejarea mediului înconjurător.

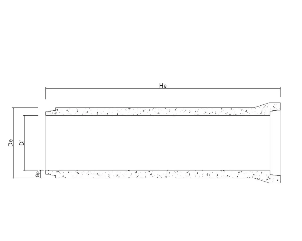
Cod Produs Denumire Produs Dimensiuni (mm) Greutate ( kg ) Pret PDF PDF
D ext d int g L ext Decalaratie Fisa Tehnica
TBA4002000 TUB BETON ARMAT D400/L2000 530 400 65 2000 550 458 1916.pdf TBA4002000.pdf
TBA5002000 TUB BETON ARMAT D500/L2000 500 500 70 2000 950 567 1916.pdf TBA5002000.pdf
TBA6002000 TUB BETON ARMAT D600/L2000 760 600 80 2000 990 730 1916.pdf TBA6002000.pdf
TBA8002000 TUB BETON ARMAT D800/L2000 984 800 92 2000 1550 1014 1916.pdf TBA8002000.pdf
Dumar Construct este o companie românească înființată în 1994 care produce prefabricate din beton customizabile conform celor mai înalte standarde de calitate, menite să răspundă tuturor cerințelor constructorilor din șantierele în continuă evoluție.